Новости по теме Nintendo
Nintendo и Google добавят Марио на Google Карты
Рубрика: Игры и консоли, ПО и сервисы
10 марта – это День Марио, того самого водопроводчика, пытающегося спасти принцессу. Марио – это своеобразный символ компании Nintendo. Google и Nintendo решили объединить свои усилия для того, чтобы поддержать сложившуюся традицию и порадовать поклонников.
Nintendo выпустит полнометражный мультфильм про Марио
Рубрика: Игры и консоли
Забавного итальянского водопроводчика по имени Марио знают все. В 1985 году появился восьмибитный платформер Super Mario Bros., перевернувший представление людей о видеоиграх и стал самым успешным в истории. Марио до сих пор приносит компании Nintendo сотни миллионов долларов прибыли и студия решила не останавливаться на достигнутом.
Nintendo представила конструктор из картона для приставки Switch
Рубрика: Игры и консоли
Компания Nintendo анонсировала интерактивность для игр. Речь идет о наборе разнообразных контроллеров, которые пользователю придется собираться самостоятельно. Для отрасли игровых приставок это новая практика, а потому выглядит это все несколько странно.
Nintendo выпустила iOS-версию игры Super Mario
Рубрика: Игры и консоли
Японская компания Nintendo запустила первую версию популярнейшей компьютерной игры Super Mario Run для смартфонов. Учитывая, что игра была очень известна, но выходила лишь для игровых приставок и консолей, эксперты надеются на то, что новая версия привлечет немало пользователей даже несмотря на то, что игра будет платной.

Представлена портативная игровая консоль Nintendo Switch
Рубрика: Игры и консоли
Nintendo, наконец-то покончила со слухами, которые в последнее время ходили вокруг разрабатываемой компанией игровой консоли, представив Nintendo Switch, которая, как и предполагалось, является гибридным устройством, подключаемым к телевизору в домашних условиях и дающая возможность прихватить его с собой в путешествие. Приставка получила подзаголовок Switch и представляет собой стационарное устройство, подключаемое к телевизору и имеющее внутри себя аналог планшета.

Старт Pokemon GO в России отложен на неопределенный срок
Рубрика: Игры и консоли
Компания Nintendo перенесла дату запуска Pokemon GO в России, объяснив свой поступок тем, что наплыв геймеров, желающих устроить охоту на «карманных монстров» из известного японского мультсериала, так велик, что серверы попросту не справляются с имеющейся нагрузкой. Одной из причин перегруженности игровых серверов является то, что в игре наблюдается огромный наплыв игроков из стран, в которых игра еще не была выпущена.
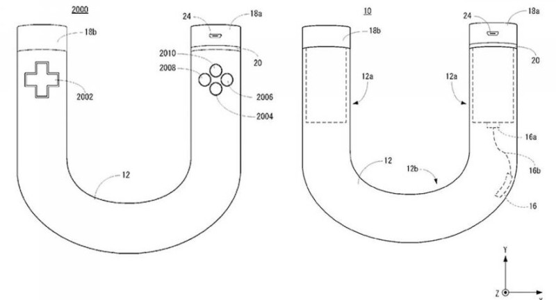
ПодробнееNintendo планирует создать контроллер в форме подковы
Рубрика: Игры и консоли
Компанией Nintendo был подан патент на новое, причудливое по своей форме устройство, которое обозначено в документации в качестве «тренировочного инструмента, тренировочной системы и устройства ввода данных». По форме устройство выглядит очень схоже с подковой, оснащено, помимо прочего гирометром, температурным датчиком и акселерометром. Внешне устройство, также, напоминает руль схожий с беспроводным рулем для консоли Xbox 360, но высказываются предположения, что устройство будет предназначено для совершенно иных действий.

Nintendo разрабатывает монитор сна
Рубрика: Гаджеты
Японская Nintendo разрабатывает не только игровые приставки. Не так давно стало известно, что на заводах компании могут начать производить устройства для мониторинга сна. Первые слухи о том, что Nintendo ведет разработки в этой области, появились еще год назад. Но только теперь слухи подтвердились.
ПодробнееКартриджи Nintendo превратили в алкогольные фляги
Рубрика: Гизмохрень
Не так давно на Kickstarter стартовал сбор средств на алкогольные фляги, выполненные в виде картриджей для старых приставок от Nintendo. Казалось бы, кто захочет финансировать подобное, но на деле от желающих отбоя не было, и в результате проект собрал намного больше денег, чем требовалось. Сегодня фляги поступили в продажу.

Назначена дата релиза обновленных консолей Nintendo 3DS и 3DS XL
Рубрика: Игры и консоли
Компания Nintendo отчаянно борется за свою крошечную долю рынка игровых приставок и консолей, но пока что-то не торопится выпускать новую революционную модель. Вместо этого она еще в конце прошлого года сообщила о грядущем релизе слегка модифицированных версий карманных консолей 3DS и 3DS XL. На тот момент были озвучены не все их характеристики, а также дата релиза тоже осталась «за кадром». Сегодня эти недочеты были официально исправлены.





