Новости по теме дрон
AirSelfie представила улучшенную версию компактного селфи-дрона
Рубрика: Гаджеты
Компания AirSelfie два года назад представила первый миниатюрный селфи-дрон. Теперь же стартап представил улучшенный вариант с новой камерой, но при этом, с меньшим ценником. Модель доступна для приобретения в Amazon по цене в $199. Первая версия дрона была оценена в $249.
Time запустил 958 дронов Intel, чтобы сделать крутую обложку
Рубрика: Новости Сети
Журнал Time создал обложку из дронов для выпуска «The Drone Age», приобрести который можно будет в магазинах 11 июня 2018 года. Для создания обложки было решено запустить 958 дронов компании Intel, которые вместе сформировали в небе Калифорнии название журнала и рамку.

Представлен селфи-дрон с 13 камерами для съемок в лесу
Рубрика: Новые технологии
Сейчас квадрокоптеры оснащаются массой всевозможных функций. Среди них система следования за объектом и автопилот. Правда, работают они лишь на открытом пространстве. Новый профессиональный дрон Skydio R1 оборудован продвинутой технологией для облета препятствий, которая позволит ему летать даже в густом лесу.

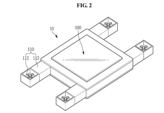
Samsung разработала летающий экран, управляемый взглядом
Рубрика: Гаджеты
Бюро США по патентам и торговым маркам одобрило заявку от корпорации Samsung, в которой описывается квадрокоптер со встроенным дисплеем и камерой, которой под силу распознавать движения человека. Пользователи смогли бы управлять экраном, который по сути летает в воздухе за счет движений глаз, головы и жестов рук.

Три в одном: экшн-камера, селфи-дрон и камера безопасности
Рубрика: Фото, видео, звук
Стартап Eyedea Pitta нацелен на пользователей, желающих приобрести мобильную видеокамеру, способную справиться со своей основной задачей в самых различных жизненных ситуациях. Основой Pittа является цифровая камера, находящаяся в сферическом корпусе, который также вмещает аккумулятор и устройство беспроводной связи. Изделие в нужный момент попросту превращается из экшен-камеры в дрон с камерой или в систему домашнего видеонаблюдения.
Концерн «Калашников» работает над запуском грузовой доставки дронами
Рубрика: Новые технологии
Концерн «Калашников» собирается использовать дроны для грузовой доставки. При этом, ограничиваться одной лишь доставкой компания не намерена, а потому в списке услуг будет числиться охрана объектов, слежка за состоянием ЛЭП и трубопроводов, а также мониторинг лесных пожаров и аэрофотосъемка.
В Швейцарии планируется использование медицинских дронов-курьеров
Рубрика: Новые технологии
Курьерская сеть из дронов может помочь в различных ситуациях, ведь беспилотники могут не только доставить различный товар, но и перевезти медикаменты или донорскую кровь. С этой целью компания Matternet решила запустить собственную сеть из медицинских дронов-курьеров, которые будут работать в рамках одной облачной системы.

Теперь беспилотникам не нужен GPS, чтобы ориентироваться в пространстве
Рубрика: Новые технологии
Системы GPS – самые популярные источники получения координат. Они используются повсеместно, в частности и в беспилотных летательных аппаратах. Однако до сих пор существуют такие области, где спутниковые навигационные системы не работают – лес, туннели, пещеры и пр. Исследователи компании NVIDIA создали собственный вариант системы для навигации роботов, не зависящий от GPS.

Искусственный интеллект используют для охраны африканских животных от браконьеров
Рубрика: Новые технологии
Фонд защиты дикой природы Lindbergh Foundation начал работу над системой искусственного интеллекта, способной отслеживать браконьеров на территории заповедников. Реализацией проекта занимается компания Neurala.

Центральный Банк РФ предложил использовать дроны для доставки наличных
Рубрика: Новости Сети
В нормативных актах Центрального Банка России может появиться специальный пункт о доставке наличных средств при помощи беспилотных летательных аппаратов. На сайте ЦБ появился проект положения, который предусматривает использование БПЛА для доставки наличных.





